Hlavička stránky

Krbová kamna

Tradiční a osvědčený zdroj tepla v rodinném domě, na chatě i chalupě. Krbová kamna se vracejí do módy. Nejen pro příjemnou atmosféru, kterou vytvářejí, ale také z důvodu snížení nákladů na vytápění. Na některých modelech je možné vařit i péct. Krbová kamna mohou být spolehlivým pomocníkem a přinést radost z praskajícího ohně. Pomocí výměníku tepla je možné kamny vyhřát celou nemovitost. Pro snížení spotřeby a emisí jsou vhodná kamna se dvojím spalováním.

Proč pořídit krbová kamna?

  • Ušetříte na platbách za energie
  • Získáte spolehlivý a výkonný zdroj tepla
  • Můžete využít řadu dostupných paliv
  • Vytvoříte příjemnou domácí atmosféru
  • Na kamnech lze vařit a v kamnech péct
  • Kamna odbourávají nadměrnou vlhkost v obydlí

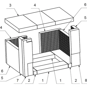
Teplovodní výměník

  • Kamna s výměníkem – Umožňují napojení na tepelnou soustavu budovy a ohřevem vody v potrubí tak vyhřívají více místností naráz. Své využití najdou mimo jiné v rodinných domech.
  • Kamna bez výměníku – Vyhřívají pouze okolní prostor, jsou tak primárně určena pro použití v uzavřené místnosti. Dle efektivity kamen je možné zvýšení teploty i v navazujících prostorách. Nejčastěji je najdete v chalupách, horských chatách a tradičních venkovských staveních.

Kamna dle výrobních materiálů

Krbová kamna se vyrábí z celé řady tepelně vodivých a bezpečnostních materiálů. Každý materiál má specifické výhody, nevýhody a estetické kvality.

  • Kovová kamna – Mezi nejklasičtější materiály patří litina. Je velice robustní (prakticky se nedá při přikládání poškodit) a skvěle udržuje teplo. Z litiny mohou být vyrobena kompletní kamna nebo samotné topeniště. Litina je poměrně těžká na převoz. Ocel má vysokou odolnost vůči žáru, ale nižší schopnost udržení teploty a také kratší životnost. Z hlediska ceny patří mezi levnější kamnářské materiály. U některých modelů se používá při výrobě prvního pláště kamen a obkládá se například keramikou.
  • Kachlová kamna – Klasická kamna s tradičními i modernějšími designy. Kachle se vyrábějí z keramiky. Umožňují takzvané nízkoteplotní sálání. Při dotyku se o ně příliš nespálíte. Kachle mohou sloužit i jako druhý plášť kamen, a to nejen z bezpečnostních důvodů. Mívají vyšší pořizovací cenu.

Mezi další materiály používané při výrobě krbových kamen patří sklo, mastek, šamot nebo vermikulit.

Kamna dle výběru paliva

Krbová kamna mohou být uzpůsobena pro určitý druh paliva nebo pro kombinaci více druhů. Mohou být vybavena automatickým přikládáním. Při výběru paliva se vždy řiďte doporučením výrobce vašich krbových kamen.

  • Kamna na dřevo – Klasická kamna, jejichž výhřevnost je částečně ovlivněna druhem, kvalitou, stářím a vlhkostí palivového dřeva. Některá kamna mohou mít tendenci k vyšší prašnosti. Dřevo při hoření krásně provoní místnost. Jeho příprava na topení vyžaduje čas a skladování zabere poměrně dost prostoru. Tepelná stálost je nižší než u jiných materiálů. Při přípravě dřeva je potřeba dodržet maximální délku polena definovanou výrobcem pro daná krbová kamna.
  • Kamna na pelety – Inovativní krbová kamna s funkcí automatizovaného přikládání. Obvykle mají moderní design a vyžadují přístup k elektrické síti. Někteří výrobci doporučují automatizované přikládání z důvodu šetření palivem a snížení emisí. Pelety jsou drobný lisovaný materiál, dodávají se v pytlích a snadno se dávkují.
  • Kamna na brikety – Tato kamna využívají jako topivo brikety, lisovaný materiál přírodního původu. Při spalování briket vzniká méně kouře než při spalování dřeva. Mají vysokou výhřevnost a stálost hoření. Jedna tuna briket odpovídá zhruba 3 m3 naskládaného dřeva.
  • Kamna na uhlíUhlí patří k ekonomičtějším palivům a má stabilní výhřevnost. Nevýhodou může být vyšší prašnost a emise ze spalování. Toho se můžete vyvarovat při používání kvalitních kamen a dodržování vhodného postupu při přikládání.

Primární, sekundární a terciální vzduch

Primární vzduch vám pomůže při prvotním zapálení v kamnech. Reguluje se ovládacími páčkami na dvířkách. Na začátku má zcela volný přístup. Následně primární vzduch nahrazuje vzduch sekundární, který zefektivňuje hoření paliva a spaluje vyloučené zplodiny. S přístupem sekundárního vzduchu kamna takzvaně “táhnou” a udržují se v setrvalém provozu.

  • Kamna s dvojím spalováním – V praxi jde o třetí přívod vzduchu (terciální), který umožňuje vzplanutí částic a plynů vyloučených při hlavním spalování a zefektivňuje tak proces hoření. Bývá zaveden v zadní části kamen nebo z vrchu. Dvojí spalování má ekologický přínos a zlepšuje tepelné vlastnosti kamen. Kamna se dvojím spalováním jsou sofistikovanější a šetří palivo.
  • Kanadská kamna – Jsou příkladem krbových kamen s technologií dvojího spalování. V kamnech shoří palivo a následně i dřevoplyn, který při hoření vzniká.

Pozn.: Neplést sekundární vzduch s uváděným sekundárním spalováním neboli dvojím spalováním (sekundární vzduch využívají všechna kamna, sekundární spalování nikoli).

Vaření a pečení s krbovými kamny

Krbová kamna jsou odpradávna používána k přípravě jídla. Vaření na kamnech se vyplatí v zimních měsících, kdy můžete využít okamžité teplo z vytápění. Díky tomu ušetříte za elektřinu nebo plyn. K vaření jsou nejlépe uzpůsobena kamna s plotýnkou, na kterou můžete přímo pokládat hrnce. Plotýnka může být tvarovaná na položení jednoho hrnce, nebo mít větší rovnou plochu, na kterou se vejde více nádobí. Pokud chcete v kamnech také péct, využijte krbová kamna s troubou. Vaše rodina neodolá voňavým buchtám pečeným v kamnech.

Další důležité parametry

  • Výkon krbových kamen – Uvádí se v kilowatech. Orientačně: pro budovy bez kvalitní tepelné izolace je potřeba výkon 1 kW na cca 20 m³. Pro kvalitně zateplené budovy zvolte kamna s výkonem 1 kW na 40 m³.

  • Počet plášťů – Jednoplášťová kamna jsou vyrobena z vrstvy materiálu, který akumuluje a sálá teplo. Dvouplášťová kamna mají pláště dva, často z různých materiálů. Mezi plášti dochází k proudění teplého vzduchu. Taková kamna umí vytvářet teplo sáláním i takzvanou konvekcí.

  • Kouřovod, jeho umístění a průměr – Kouřovod slouží k odvádění spalin ven z obydlí a musí perfektně těsnit. Při výběru krbových kamen je potřeba počítat s jeho polohou kvůli usazení kamen v místnosti a napojení na komín. Kouřovod může být vrchní, zadní, boční. Velice důležitý je jeho průměr. Musí být menší nebo stejný jako průměr komína, do kterého budete kouřovod instalovat.

  • Vytápěcí schopnost – Objem prostoru v metrech krychlových, který jsou kamna schopna stabilně vytopit. Údaj je orientační. Záleží na tvaru a izolačních vlastnostech daného prostoru.

  • Účinnost spalování – Uvedené procento značí, jaké množství paliva se přemění na teplo. Zbytek odejde ve formě spalin komínem. Účinnost se pohybuje mezi 60–90 %. Čím vyšší procento, tím jsou kamna ekologičtější a ve finále levnější.

  • Maximální délka polen – Délka polen, která se vejdou do krbových kamen.

Hlavní obsah stránky

Krbová kamna

Zrušit filtry

Tradiční a osvědčený zdroj tepla v rodinném domě, na chatě i chalupě. Krbová kamna se vracejí do módy. Nejen pro příjemnou atmosféru, kterou vytvářejí, ale také z důvodu snížení nákladů na vytápění. Na některých modelech je možné vařit i péct. Krbová kamna mohou být spolehlivým pomocníkem a přinést radost z praskajícího ohně. Pomocí výměníku tepla je možné kamny vyhřát celou nemovitost. Pro snížení spotřeby a emisí jsou vhodná kamna se dvojím spalováním.

Proč pořídit krbová kamna?

  • Ušetříte na platbách za energie
  • Získáte spolehlivý a výkonný zdroj tepla
  • Můžete využít řadu dostupných paliv
  • Vytvoříte příjemnou domácí atmosféru
  • Na kamnech lze vařit a v kamnech péct
  • Kamna odbourávají nadměrnou vlhkost v obydlí

Teplovodní výměník

  • Kamna s výměníkem – Umožňují napojení na tepelnou soustavu budovy a ohřevem vody v potrubí tak vyhřívají více místností naráz. Své využití najdou mimo jiné v rodinných domech.
  • Kamna bez výměníku – Vyhřívají pouze okolní prostor, jsou tak primárně určena pro použití v uzavřené místnosti. Dle efektivity kamen je možné zvýšení teploty i v navazujících prostorách. Nejčastěji je najdete v chalupách, horských chatách a tradičních venkovských staveních.

Kamna dle výrobních materiálů

Krbová kamna se vyrábí z celé řady tepelně vodivých a bezpečnostních materiálů. Každý materiál má specifické výhody, nevýhody a estetické kvality.

  • Kovová kamna – Mezi nejklasičtější materiály patří litina. Je velice robustní (prakticky se nedá při přikládání poškodit) a skvěle udržuje teplo. Z litiny mohou být vyrobena kompletní kamna nebo samotné topeniště. Litina je poměrně těžká na převoz. Ocel má vysokou odolnost vůči žáru, ale nižší schopnost udržení teploty a také kratší životnost. Z hlediska ceny patří mezi levnější kamnářské materiály. U některých modelů se používá při výrobě prvního pláště kamen a obkládá se například keramikou.
  • Kachlová kamna – Klasická kamna s tradičními i modernějšími designy. Kachle se vyrábějí z keramiky. Umožňují takzvané nízkoteplotní sálání. Při dotyku se o ně příliš nespálíte. Kachle mohou sloužit i jako druhý plášť kamen, a to nejen z bezpečnostních důvodů. Mívají vyšší pořizovací cenu.

Mezi další materiály používané při výrobě krbových kamen patří sklo, mastek, šamot nebo vermikulit.

Kamna dle výběru paliva

Krbová kamna mohou být uzpůsobena pro určitý druh paliva nebo pro kombinaci více druhů. Mohou být vybavena automatickým přikládáním. Při výběru paliva se vždy řiďte doporučením výrobce vašich krbových kamen.

  • Kamna na dřevo – Klasická kamna, jejichž výhřevnost je částečně ovlivněna druhem, kvalitou, stářím a vlhkostí palivového dřeva. Některá kamna mohou mít tendenci k vyšší prašnosti. Dřevo při hoření krásně provoní místnost. Jeho příprava na topení vyžaduje čas a skladování zabere poměrně dost prostoru. Tepelná stálost je nižší než u jiných materiálů. Při přípravě dřeva je potřeba dodržet maximální délku polena definovanou výrobcem pro daná krbová kamna.
  • Kamna na pelety – Inovativní krbová kamna s funkcí automatizovaného přikládání. Obvykle mají moderní design a vyžadují přístup k elektrické síti. Někteří výrobci doporučují automatizované přikládání z důvodu šetření palivem a snížení emisí. Pelety jsou drobný lisovaný materiál, dodávají se v pytlích a snadno se dávkují.
  • Kamna na brikety – Tato kamna využívají jako topivo brikety, lisovaný materiál přírodního původu. Při spalování briket vzniká méně kouře než při spalování dřeva. Mají vysokou výhřevnost a stálost hoření. Jedna tuna briket odpovídá zhruba 3 m3 naskládaného dřeva.
  • Kamna na uhlíUhlí patří k ekonomičtějším palivům a má stabilní výhřevnost. Nevýhodou může být vyšší prašnost a emise ze spalování. Toho se můžete vyvarovat při používání kvalitních kamen a dodržování vhodného postupu při přikládání.

Primární, sekundární a terciální vzduch

Primární vzduch vám pomůže při prvotním zapálení v kamnech. Reguluje se ovládacími páčkami na dvířkách. Na začátku má zcela volný přístup. Následně primární vzduch nahrazuje vzduch sekundární, který zefektivňuje hoření paliva a spaluje vyloučené zplodiny. S přístupem sekundárního vzduchu kamna takzvaně “táhnou” a udržují se v setrvalém provozu.

  • Kamna s dvojím spalováním – V praxi jde o třetí přívod vzduchu (terciální), který umožňuje vzplanutí částic a plynů vyloučených při hlavním spalování a zefektivňuje tak proces hoření. Bývá zaveden v zadní části kamen nebo z vrchu. Dvojí spalování má ekologický přínos a zlepšuje tepelné vlastnosti kamen. Kamna se dvojím spalováním jsou sofistikovanější a šetří palivo.
  • Kanadská kamna – Jsou příkladem krbových kamen s technologií dvojího spalování. V kamnech shoří palivo a následně i dřevoplyn, který při hoření vzniká.

Pozn.: Neplést sekundární vzduch s uváděným sekundárním spalováním neboli dvojím spalováním (sekundární vzduch využívají všechna kamna, sekundární spalování nikoli).

Vaření a pečení s krbovými kamny

Krbová kamna jsou odpradávna používána k přípravě jídla. Vaření na kamnech se vyplatí v zimních měsících, kdy můžete využít okamžité teplo z vytápění. Díky tomu ušetříte za elektřinu nebo plyn. K vaření jsou nejlépe uzpůsobena kamna s plotýnkou, na kterou můžete přímo pokládat hrnce. Plotýnka může být tvarovaná na položení jednoho hrnce, nebo mít větší rovnou plochu, na kterou se vejde více nádobí. Pokud chcete v kamnech také péct, využijte krbová kamna s troubou. Vaše rodina neodolá voňavým buchtám pečeným v kamnech.

Další důležité parametry

  • Výkon krbových kamen – Uvádí se v kilowatech. Orientačně: pro budovy bez kvalitní tepelné izolace je potřeba výkon 1 kW na cca 20 m³. Pro kvalitně zateplené budovy zvolte kamna s výkonem 1 kW na 40 m³.

  • Počet plášťů – Jednoplášťová kamna jsou vyrobena z vrstvy materiálu, který akumuluje a sálá teplo. Dvouplášťová kamna mají pláště dva, často z různých materiálů. Mezi plášti dochází k proudění teplého vzduchu. Taková kamna umí vytvářet teplo sáláním i takzvanou konvekcí.

  • Kouřovod, jeho umístění a průměr – Kouřovod slouží k odvádění spalin ven z obydlí a musí perfektně těsnit. Při výběru krbových kamen je potřeba počítat s jeho polohou kvůli usazení kamen v místnosti a napojení na komín. Kouřovod může být vrchní, zadní, boční. Velice důležitý je jeho průměr. Musí být menší nebo stejný jako průměr komína, do kterého budete kouřovod instalovat.

  • Vytápěcí schopnost – Objem prostoru v metrech krychlových, který jsou kamna schopna stabilně vytopit. Údaj je orientační. Záleží na tvaru a izolačních vlastnostech daného prostoru.

  • Účinnost spalování – Uvedené procento značí, jaké množství paliva se přemění na teplo. Zbytek odejde ve formě spalin komínem. Účinnost se pohybuje mezi 60–90 %. Čím vyšší procento, tím jsou kamna ekologičtější a ve finále levnější.

  • Maximální délka polen – Délka polen, která se vejdou do krbových kamen.

Dostupnost
Seznam produktů kategorie
Krbová kamna Komíny CZ Kouřovod-koleno ke kamnům nastavitelné+čistící otvor 150/0-90°/1,5

Komíny CZ Kouřovod-koleno ke kamnům nastavitelné+čistící otvor 150/0-90°/1,5

  • Hmotnost 1,4 kg

Koleno nastavitelné v rozsahu 0-90° s čistícím otvorem pro realizaci úhybu kouřové cesty. Jednotlivé díly se spojují…

795 Kč

Komíny CZ Pohoda domova

Zobrazit detail
Krbová kamna HAAS + SOHN Rukov, s.r.o. HAAS+SOHN UKA černá/litinová dvířka

HAAS + SOHN Rukov, s.r.o. HAAS+SOHN UKA černá/litinová dvířka

  • Šířka 46 cm
  • Výška 62,5 cm
  • Hloubka 40,1 cm
  • Hmotnost 86 kg
  • Průměr kouřovodu 130 mm
  • Na dřevo
  • Vytápěcí schopnost 111 m³
  • Kouřovod zadní

Kamna HAAS+SOHN UKA černá jsou hřejivým doplňkem moderně zařízených domácností i rekreačních chalup. Jsou vyrobené z…

24 990 Kč

SHOP-KOMINEX.CZ

Zobrazit detail
Krbová kamna NDV-000060 - FL09K01 - Sada šamotů pro kamna Flamingo

NDV-000060 - FL09K01 - Sada šamotů pro kamna Flamingo

  • Hmotnost 21 kg

Tato sada náhradních šamotových cihel se skládá:2 kusy Šamotová cihla 300x230x304 kusy Šamotová cihla 300x145x302 kusy…

od 2 329 Kč

v 2 obchodech

Porovnat ceny
Krbová kamna Romotop Klika

Romotop Klika

Kvalitní Romotop Klika za 810,00 Kč.…

810 Kč

Krbykunc.cz

Zobrazit detail
Krbová kamna KVS MORAVIA sklokeramická plotna pro sporák-KOPIE

KVS MORAVIA sklokeramická plotna pro sporák-KOPIE

Sklokeramická plotna (deska) ke sporákům KVS-Morávia. Jedná se vysocekvalitní český výrobek.…

4 930 Kč

Krbylevne.cz

Zobrazit detail
Krbová kamna Krbová kamna VICTORIA Nero Lux (Krbová kamna VICTORIA Nero Lux)

Krbová kamna VICTORIA Nero Lux (Krbová kamna VICTORIA Nero Lux)

  • Barva černá
  • Hmotnost 99 kg
  • Průměr kouřovodu 150 mm

Krbová kamna VICTORIA Nero LuxKamna splňují nejnovější podmínky "EKODESIGN" - můžete používat i po roce 2022Obecný návod ke…

17 189 Kč

Kamnarna.cz

Zobrazit detail
Krbová kamna WAMSLER RH 8 AUTOMATIC speckstein

WAMSLER RH 8 AUTOMATIC speckstein

  • Hloubka 41,1 cm
  • Výkon 8 kW
  • Průměr kouřovodu 120 mm
  • Na dřevo
  • Vytápěcí schopnost 250 m³
  • Kouřovod zadní
  • Jmenovitý výkon 8 kW
  • Hmotnost 148,5 kg

RH A/D zaručuje 12 hodin hoření a dobu uchování žhavého uhlíku při jediném naplnění. Se svou hlubokou spalovací komorou s…

25 871 Kč

SHOP-KOMINEX.CZ

Zobrazit detail
Krbová kamna Nordflam FIREPLACE STOVE BREMA

Nordflam FIREPLACE STOVE BREMA

  • Šířka 50,3 cm
  • Výška 74,6 cm
  • Hloubka 72,2 cm
  • Výkon 11 kW
  • Průměr kouřovodu 150 mm
  • Na dřevo
  • Účinnost spalování 75 %

Deflektor - prodlužuje cestu výparů uvnitř zařízení, zvyšuje emise tepla a tepelnou účinnost produktu. Dopalování – snižuje…

25 955 Kč

SHOP-KOMINEX.CZ

Zobrazit detail
Krbová kamna Nordflam FIREPLACE STOVE ARICA

Nordflam FIREPLACE STOVE ARICA

  • Šířka 50,3 cm
  • Výška 74,6 cm
  • Hloubka 72,2 cm
  • Hmotnost 140 kg
  • Výkon 11 kW
  • Průměr kouřovodu 150 mm
  • Na dřevo

Deflektor - prodlužuje cestu výparů uvnitř zařízení, zvyšuje emise tepla a tepelnou účinnost produktu. Dopalování – snižuje…

25 955 Kč

SHOP-KOMINEX.CZ

Zobrazit detail
Krbová kamna Nordflam FIREPLACE STOVE PALERMO

Nordflam FIREPLACE STOVE PALERMO

  • Šířka 36,7 cm
  • Výška 103,4 cm
  • Hloubka 45 cm
  • Hmotnost 116 kg
  • Výkon 7,6 kW
  • Průměr kouřovodu 150 mm
  • Na dřevo
  • Externí přívod vzduchu

Externí přívod vzduchu (CDP) – Externí přívod vzduchu Systém externího přívodu vzduchu (CDP) umožňuje vložce nezávisle na…

26 164 Kč

SHOP-KOMINEX.CZ

Zobrazit detail
Krbová kamna Dovre KRBOVÁ KAMNA DOVRE 100

Dovre KRBOVÁ KAMNA DOVRE 100

  • Šířka 50 cm
  • Výška 62 cm
  • Hloubka 32,5 cm
  • Hmotnost 60 kg
  • Výkon 5 kW
  • Průměr kouřovodu 125 mm
  • Kouřovod zadní
  • Jmenovitý výkon 5 kW

Produkty Dovre 100CBS, 300CB a 40CBS jsou součástí produktové řady DOVRE CLASSIC. Jsou to spolehlivá litinová krbová kamna…

26 720 Kč

SHOP-KOMINEX.CZ

Zobrazit detail
Krbová kamna ABX Toledo Exclusive mastek vč. horní desky, černý korpus

ABX Toledo Exclusive mastek vč. horní desky, černý korpus

  • Šířka 66,8 cm
  • Výška 80,1 cm
  • Hloubka 41,7 cm
  • Hmotnost 135 kg
  • Výkon 5,5 kW
  • Průměr kouřovodu 150 mm
  • Na dřevo
  • Jmenovitý výkon 5,5 kW
  • Materiál opláštění pískovec

Krbová kamna ABX Toledo v provedení černý korpus, opláštění pískovec mají jmenovitý výkon 5.5 kW, maximální výkon 7.5 kW,…

26 756 Kč

SHOP-KOMINEX.CZ

Zobrazit detail
Krbová kamna MBS SD Olymp Plus - krémová barva

MBS SD Olymp Plus - krémová barva

  • Hmotnost 110 kg
  • Výkon 10,3 kW
  • Průměr kouřovodu 120 mm
  • Na dřevo
  • Vytápěcí schopnost 200 m³
  • Kouřovod zadní
  • Jmenovitý výkon 10,3 kW

Kamna a sporáky MBS na tuhá paliva jsou určena k vytápění, vaření, pečení. Jsou konstruována na spalování palivového dřeva.…

27 121 Kč

SHOP-KOMINEX.CZ

Zobrazit detail
Krbová kamna Sklo pod kamna - FLAMINGO Kapka 1100x1100 mm, fazeta, / 6 mm

Sklo pod kamna - FLAMINGO Kapka 1100x1100 mm, fazeta, / 6 mm

  • Barva průhledná
  • Materiál opláštění sklo

Sklo pod krbová kamna – tvrzené bezpečnostní sklo 6 mm s fazetou Tvrzené sklo pod kamna je elegantní a praktický doplněk,…

od 2 410 Kč

v 7 obchodech

Porovnat ceny
Krbová kamna Sklo pod kamna - FLAMINGO Oblouk 1000x1200 mm, černé, fazeta / R500 / 6 mm

Sklo pod kamna - FLAMINGO Oblouk 1000x1200 mm, černé, fazeta / R500 / 6 mm

  • Barva černá
  • Materiál opláštění sklo

Černěné sklo pod krbová kamna – tvrzené bezpečnostní sklo 6 mm s fazetou Luxusní černěné tvrzené sklo pod kamna je elegantní…

od 2 457 Kč

v 7 obchodech

Porovnat ceny
Krbová kamna Sklo pod kamna - FLAMINGO Čtverec 1000x1000 mm, černé, fazeta / 6 mm

Sklo pod kamna - FLAMINGO Čtverec 1000x1000 mm, černé, fazeta / 6 mm

  • Barva černá
  • Materiál opláštění sklo

Černěné sklo pod krbová kamna – tvrzené bezpečnostní sklo 6 mm s fazetou Luxusní černěné tvrzené sklo pod kamna je elegantní…

od 2 476 Kč

v 7 obchodech

Porovnat ceny
Krbová kamna Sklo pod kamna - FLAMINGO Oblouk 1000x1200 mm, černé, fazeta / R725 / 6 mm

Sklo pod kamna - FLAMINGO Oblouk 1000x1200 mm, černé, fazeta / R725 / 6 mm

  • Barva černá
  • Materiál opláštění sklo

Černěné sklo pod krbová kamna – tvrzené bezpečnostní sklo 6 mm s fazetou Luxusní černěné tvrzené sklo pod kamna je elegantní…

od 2 504 Kč

v 7 obchodech

Porovnat ceny
Krbová kamna Sklo pod kamna - FLAMINGO Oblouk 1000x1000 mm, černé, fazeta / 2xR200 / 6 mm

Sklo pod kamna - FLAMINGO Oblouk 1000x1000 mm, černé, fazeta / 2xR200 / 6 mm

  • Barva černá
  • Materiál opláštění sklo

Černěné sklo pod krbová kamna – tvrzené bezpečnostní sklo 6 mm s fazetou Luxusní černěné tvrzené sklo pod kamna je elegantní…

od 2 523 Kč

v 7 obchodech

Porovnat ceny
Krbová kamna NDV-000102 - FL09K08 - Sada vermikulitových desek pro kamna Flamingo DELUXE

NDV-000102 - FL09K08 - Sada vermikulitových desek pro kamna Flamingo DELUXE

Určeno pro kamna: FLAMINGO DELUXE ® KAMPA FLAMINGO DELUXE ® MALIA FLAMINGO DELUXE ® ISLAND FLAMINGO DELUXE ® SINGA FLAMINGO…

2 533 Kč

Obchod.hsflamingo.cz

Zobrazit detail
Krbová kamna Sklo pod kamna - FLAMINGO Výseč 1000x1000 mm, černé, fazeta / 6 mm

Sklo pod kamna - FLAMINGO Výseč 1000x1000 mm, černé, fazeta / 6 mm

  • Barva černá
  • Materiál opláštění sklo

Černěné sklo pod krbová kamna – tvrzené bezpečnostní sklo 6 mm s fazetou Luxusní černěné tvrzené sklo pod kamna je elegantní…

od 2 533 Kč

v 7 obchodech

Porovnat ceny
Krbová kamna Romotop Klika

Romotop Klika

Jsme autorizovaní prodejci ROMOTOP Pro objednání správného náhradního dílu, je nutné znát sériové číslo výrobku…

857 Kč

Krbykunc.cz

Zobrazit detail
Krbová kamna Hrdlo vzduchu pr. 65 + těsnění + upevňovací vruty

Hrdlo vzduchu pr. 65 + těsnění + upevňovací vruty

Hrdlo vzduchu pr. 65 + těsnění + upevňovací vruty Nutné příslušenství pro napojení kamen na externí přívod vzduchu u modelů…

923 Kč

Krbykunc.cz

Zobrazit detail
Krbová kamna Hrdlo vzduchu pr. 79 mm + těsnění + upevňovací vruty

Hrdlo vzduchu pr. 79 mm + těsnění + upevňovací vruty

Hrdlo vzduchu pr. 79 mm + těsnění + upevňovací vruty Nutné příslušenství pro napojení kamen na externí přívod vzduchu u…

958 Kč

Krbykunc.cz

Zobrazit detail
Krbová kamna Romotop Klika

Romotop Klika

Pro objednání správného náhradního dílu, je nutné znát sériové číslo výrobku (desetimístný kód), které naleznete ve Vašem…

1 167 Kč

Krbykunc.cz

Zobrazit detail
Krbová kamna Romotop Klika

Romotop Klika

Kvalitní Romotop Klika za 1214,00 Kč.…

1 214 Kč

Krbykunc.cz

Zobrazit detail
Krbová kamna KVS MORAVIA sklokeramická plotna pro sporák

KVS MORAVIA sklokeramická plotna pro sporák

Sklokeramická plotna (deska) ke sporákům KVS-Morávia. Jedná se vysocekvalitní český výrobek.…

4 930 Kč

Krbylevne.cz

Zobrazit detail
Krbová kamna Dekorativní rám Uniflam 720 Prestige nerez - akce

Dekorativní rám Uniflam 720 Prestige nerez - akce

  • Výška 62,45 cm
  • Materiál opláštění ocel
  • Šířka 8,94 cm

Dekorativní rám z leštěné nerezové oceli. Určeno pro instalaci s krbovou vložkou UNIFLAM 720 PRESTIGE. Rám je připevněn k…

od 5 171 Kč

v 2 obchodech

Porovnat ceny
Krbová kamna Dekorativní rám Uniflam 720 Prestige grafit

Dekorativní rám Uniflam 720 Prestige grafit

  • Výška 62,45 cm
  • Materiál opláštění ocel
  • Šířka 8,94 cm

Dekorativní rám z leštěné nerezové oceli. Určeno pro instalaci s krbovou vložkou UNIFLAM 720 PRESTIGE. Rám je připevněn k…

od 6 076 Kč

v 3 obchodech

Porovnat ceny
Krbová kamna Dekorativní rám Uniflam 720 Prestige černý mat

Dekorativní rám Uniflam 720 Prestige černý mat

  • Výška 62,45 cm
  • Materiál opláštění ocel
  • Šířka 8,94 cm

Dekorativní rám z leštěné nerezové oceli. Určeno pro instalaci s krbovou vložkou UNIFLAM 720 PRESTIGE. Rám je připevněn k…

od 6 076 Kč

v 3 obchodech

Porovnat ceny
Krbová kamna Dekorativní rám Uniflam 850 Prestige grafit

Dekorativní rám Uniflam 850 Prestige grafit

  • Výška 65,1 cm
  • Materiál opláštění ocel
  • Šířka 8,94 cm

Dekorativní rám z leštěné nerezové oceli. Určeno pro instalaci s krbovou vložkou UNIFLAM 850 PRESTIGE. Rám je připevněn k…

od 6 737 Kč

v 3 obchodech

Porovnat ceny
Krbová kamna Dekorativní rám Uniflam 850 Prestige černý mat

Dekorativní rám Uniflam 850 Prestige černý mat

  • Výška 65,1 cm
  • Materiál opláštění ocel
  • Šířka 8,94 cm

Dekorativní rám z leštěné nerezové oceli. Určeno pro instalaci s krbovou vložkou UNIFLAM 850 PRESTIGE. Rám je připevněn k…

od 6 737 Kč

v 3 obchodech

Porovnat ceny
Krbová kamna PROTERMO krbová kamna LAVA CERAMIC - bílá

PROTERMO krbová kamna LAVA CERAMIC - bílá

  • Barva bílá
  • Hmotnost 38 kg
  • Výkon 6 kW
  • Na dřevo
  • Kouřovod vrchní
  • Jmenovitý výkon 6 kW

PRO-TERMO krbová kamna LAVA CERAMIC - bílá Krbová kamna na tuhá paliva - jmenovitý výkon 6 kW, účinnost vytápění 76 %,…

6 750 Kč

Krbylevne.cz

Zobrazit detail
Krbová kamna Sporák na tuhá paliva VERSO CS Inox, slonová kost (Sporák na tuhá paliva VERSO CS Inox, slonová kost)

Sporák na tuhá paliva VERSO CS Inox, slonová kost (Sporák na tuhá paliva VERSO CS…

  • Hmotnost 85 kg
  • Průměr kouřovodu 150 mm
  • Maximální délka polena 34 cm

Sporák na tuhá paliva VERSO CS Inox, slonová kostKamna splňují nejnovější podmínky "EKODESIGN" - můžete používat i po roce…

od 17 189 Kč

v 5 obchodech

Porovnat ceny
Krbová kamna Krbová kamna VICTORIA Comfort K

Krbová kamna VICTORIA Comfort K

  • Vytápěcí schopnost 300 m³
  • Barva černá

Krbová kamna VICTORIA Comfort K, 11 kW – ocelová kamna s keramickým obkladem pro pohodlné vytápění Krbová kamna VICTORIA…

18 144 Kč

Kamnarna.cz

Zobrazit detail
Krbová kamna VICTORIA Rubin VICTORIA Rubin červená

VICTORIA Rubin VICTORIA Rubin červená

  • Barva červená
  • Hmotnost 114 kg
  • Výkon 13 kW
  • Na dřevo
  • Jmenovitý výkon 13 kW
  • Průměr kouřovodu 150 mm

VICTORIA krbová kamna RUBIN - červená Krbová kamna VICTORIA Rubin v atraktivní červené barvě představují dokonalou kombinaci…

od 18 893 Kč

v 2 obchodech

Porovnat ceny
Krbová kamna Krbová kamna VICTORIA Rubin, slonová kost (Krbová kamna VICTORIA Rubin, slonová kost)

Krbová kamna VICTORIA Rubin, slonová kost (Krbová kamna VICTORIA Rubin, slonová kost)

  • Hmotnost 114 kg
  • Průměr kouřovodu 150 mm

Krbová kamna VICTORIA Rubin, slonová kostKamna splňují nejnovější podmínky "EKODESIGN" - můžete používat i po roce…

19 099 Kč

Kamnarna.cz

Zobrazit detail
Krbová kamna Krbová kamna s výměníkem VICTORIA Triumph B

Krbová kamna s výměníkem VICTORIA Triumph B

  • Jmenovitý výkon 15,5 kW
  • Barva černá
  • Hmotnost 128 kg
  • Průměr kouřovodu 150 mm

Krbová kamna VICTORIA TRIUMPF B s teplovodním výměníkem Krbová kamna VICTORIA TRIUMPF B kombinují sálavé a konvekční teplo…

21 964 Kč

Kamnarna.cz

Zobrazit detail
Krbová kamna Krbová kamna s výměníkem VICTORIA Nero Lux BO (Krbová kamna s výměníkem VICTORIA Nero Lux BO)

Krbová kamna s výměníkem VICTORIA Nero Lux BO (Krbová kamna s výměníkem VICTORIA…

  • Barva černá
  • Hmotnost 125 kg
  • Průměr kouřovodu 150 mm

Krbová kamna s výměníkem VICTORIA Nero Lux BOKamna splňují nejnovější podmínky "EKODESIGN" - můžete používat i po roce…

22 919 Kč

Kamnarna.cz

Zobrazit detail
Krbová kamna Krbová kamna s výměníkem VICTORIA Nero Lux B

Krbová kamna s výměníkem VICTORIA Nero Lux B

  • Jmenovitý výkon 11 kW
  • Barva černá
  • Hmotnost 122 kg
  • Průměr kouřovodu 150 mm

Krbová kamna VICTORIA NERO LUX B s teplovodním výměníkem – kompaktní řešení pro dům i chatu Model VICTORIA NERO LUX B patří…

22 919 Kč

Kamnarna.cz

Zobrazit detail
Krbová kamna Komíny CZ Krbová mřížka Luft 90x800 mm černá

Komíny CZ Krbová mřížka Luft 90x800 mm černá

  • Výška 9 cm
  • Hloubka 8 cm

Luft se vyznačuje moderním a minimalistickým vzhledem. Štěrbinová mřížka má maskovanou přívod vzduchu. Hloubka: 8 cm Délka:…

od 799 Kč

v 3 obchodech

Porovnat ceny
Krbová kamna Komíny CZ Kamnářská omítka SILATERM FINISH 16 kg

Komíny CZ Kamnářská omítka SILATERM FINISH 16 kg

Jedná se o designovou velmi jemnou brousitelnou kamnářskou omítku s tepelnou odolností 200 °C a zrnitostí 0–40 mm. Nanáší se…

869 Kč

Komíny CZ Pohoda domova

Zobrazit detail
Krbová kamna Komíny CZ Kanál externího přívodu vzduchu koleno nastavitelné 45°-90° 200x90mm

Komíny CZ Kanál externího přívodu vzduchu koleno nastavitelné 45°-90° 200x90mm

Koleno pro úhyb kanálu v požadovaném úhlu.…

889 Kč

Komíny CZ Pohoda domova

Zobrazit detail
Krbová kamna Komíny CZ Náhradní těsnění dveří č.6 PANADERO IRIS

Komíny CZ Náhradní těsnění dveří č.6 PANADERO IRIS

Doprava za 159 Kč
Osobní odběr za 135 Kč
890 Kč

Komíny CZ Pohoda domova

Zobrazit detail
Krbová kamna Komíny CZ Kanál externího přívodu vzduchu 200x90mm mřížka přívodu vzduchu

Komíny CZ Kanál externího přívodu vzduchu 200x90mm mřížka přívodu vzduchu

  • Barva bílá

Mřížka se osazuje na vnější vývod přívodu vzduchu. Je osazena na konec ventilačního kanálu, který dodává čerstvý vzduch pro…

898 Kč

Komíny CZ Pohoda domova

Zobrazit detail
Krbová kamna Komíny CZ Al hliníková fólie tl.99 mikronů (10m)

Komíny CZ Al hliníková fólie tl.99 mikronů (10m)

Silná hliníková fólie tl. 0,099 mm (99 mikronů), šíře 500 mm, délka návinu 10bm. Fólie je vhodná pro styk s potravinami a…

985 Kč

Komíny CZ Pohoda domova

Zobrazit detail
Krbová kamna Komíny CZ Krbová mřížka Luft 90x1000 mm černá

Komíny CZ Krbová mřížka Luft 90x1000 mm černá

  • Barva černá
  • Výška 9 cm
  • Hloubka 8 cm

Luft se vyznačuje moderním a minimalistickým vzhledem. Štěrbinová mřížka má maskovanou přívod vzduchu. Hloubka: 8 cm Délka:…

1 125 Kč

Komíny CZ Pohoda domova

Zobrazit detail

Jak vybrat krbová kamna

Krbová kamna rychle prohřejí dům či byt a jsou úsporná. Vybrat spíše klasická nebo s výměníkem? A jsou lepší kamna kachlová nebo kovová?

Filtry
Filtrování
Smazat všechny filtry

Kategorie