Hlavička stránky
Detail produktu
Blumfeldt Pantheon Cortina Solid Sky 3 x 3 m
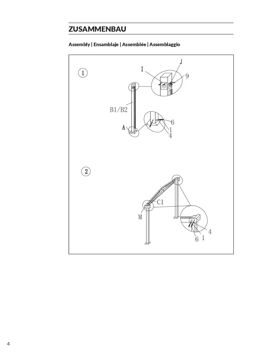
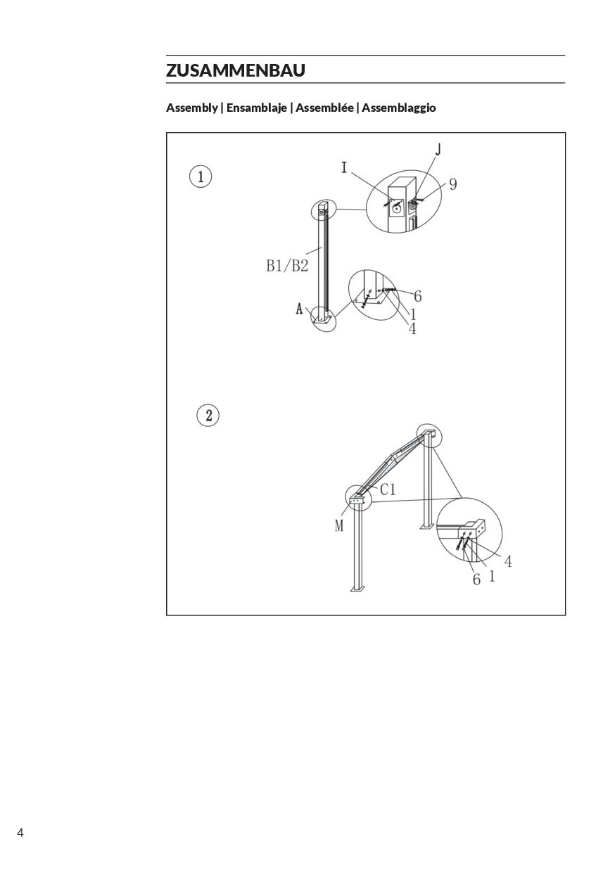
Manuál Blumfeldt Pantheon Cortina Solid Sky GDW8
Blumfeldt Pantheon Cortina Solid Sky 3 x 3 m
Stáhnout PDF
(979,7 KB)
Hlavní obsah stránky